沉寂了很久的范冰冰,有了新的动向。不过并不是在演艺事业上,而是在她的生意上。
7月份,范冰冰比较高调地宣布旗下的彩妆品牌Fan Beauty Diary(下简称FB)正式入驻TikTok。为此,范冰冰还专门录制了视频,称“Fan Beauty Diary正式入驻TikTok,我们将会在这里分享一切和美有关的事物。”.

早在5月31日,范冰冰就已经在小红书的账号上表示:FB已经入驻东南亚地区*在线购物网站之一的Lazada。
2018年,范冰冰风头正劲时因为税务相关的问题,一下子从娱乐圈的顶层跌落。不过,主业拉胯之后,范冰冰反而更有精力专注于之前的副业——美妆,并且风生水起。
如今,范冰冰携美妆高调出海。调侃的人说国内已经盛不下范爷了,质疑的人则说国外的路还会像国内一样好走吗?
01 失之东隅收之桑榆
演艺明星投身于商海的例子比比皆是。尤其是在电商直播兴起之后,明星们好像发现了自己的第二“战场”,慢慢呈现出“明星网红化”的趋势。
最典型的案例莫过于贾乃亮。这位在演艺事业上一直不温不火的二线艺人,突然成了直播带货的“宠儿”。
有的明星还干脆直接下场,想过一把当“老板”的瘾。不过演员和商人之间,还是存在着的巨大鸿沟。
2014年,刘嘉玲推出自创护肤品品牌“嘉玲”系列,三个月亏损净额达到233万元人民币,第四个月刘嘉玲就把公司转手卖了出去;
2017年,还未离婚的Angelababy与黄晓明夫妻合力推出自创护肤品牌“ah”,取自两个人名字的首字母。不过这个看似恩爱的品牌没有掀起一点水花,反而是随着两人的分手而销声匿迹;
2017年主持人谢娜推出娜样NAYOUNG品牌正式进军化妆品行业,并在京东开出旗舰店。时至如今,京东上已经“查无此人”。

每一个商业领域都是一个江湖,远非明星们想象中的那么简单。
耀眼的星光或许可以一时聚集人气,只不过最终还是要归根到商业的核心竞争力上来。很多明星品牌往往开业即*,之后便迅速消失在市场的大浪中去。
但是范冰冰和她的FB却比较例外。
2018年初,范冰冰入驻小红书并不时推荐一些美妆产品。
作为当时名副其实的“顶流”,范冰冰很快显示出了*的带货能力。
看到巨大商机的范冰冰认为,与其给别人带货,不如自己打造品牌,于是从产到销全面介入,并推出FB品牌。
2018年10月,范冰冰因偷税漏税被罚款。演艺事业进入冰点的她,反而可以全力地投入到商业中去。
FB最开始切入的是美容仪赛道,最终不了了之。
2019年,范冰冰卷土重来,瞄准了面膜赛道。这次的尝试,精准利用了范冰冰肤白貌美的大众印象,而且面向更广泛的大众群体,很快取得了不俗的成果。
最后FB又进军彩妆和护肤全品类,形成完整的产品矩阵。
2019年4月,FB海葡萄凝水保湿面膜在中国香港SASA首发,首月售出5万盒。2020年双11,FB成交额突破1亿元。
2021年,范冰冰成立了范美丽(海南)化妆品有限公司,将FB品牌的运营权从合作方手中收回。根据公开资料显示,品牌收回运营权90天,销量破亿。
2023年618期间,FB在小红书平台的品牌榜中位列*;今年618购物节,FB又拿下了小红书618榜单的Top位置。
在演艺事业上迟迟无法“第二春”的范冰冰,在彩妆商业上却如鱼得水,也算是失之东隅收之桑榆。
只不过正如火如荼之际,为何要转头出海呢?
02 出海的逻辑
这与国内竞争激烈的大背景有关。
国家统计局数据显示,2023年中国化妆品零售总额达4142亿元,同比增长5.1%,虽然止住了2022年的下滑,但是增速水平大约也仅相当于十年前水平。
2024年以来,中国化妆品市场更是遭遇到了极大的考验。今年6月化妆品类零售总额为405亿元,同比下降14.6%,创下今年单月*跌幅。这也是近10年来,化妆品零售总额首次在6月份出现下滑。
而且,上半年我国社会消费品零售总额2.36万亿元,同比增长3.7%。而化妆品类零售总额为2168亿元,较去年同期仅仅微增1%,已经跑输大盘。

尤其是针对FB这种以电商销售为主的企业而言,线上的市场空间也已经看到了饱和的“天花板”。根据星图数据,今年618全网销售总额为7428亿元,同比下降7%,有史以来*次负增长。
电商的颓势来源于整体中国流量红利的消减。人口进入负增长已经在短时间无法扭转,叠加上网普及率已经触及天花板的情况下,我们的网络流量基本已经见顶。
基于对未来国内市场增长放缓的预期,大部分的头部电商机构都在不断寻求增长的第二曲线。出海就是其中一个重要尝试。
三只羊集团创始人卢文庆在直播中透露,正在Tiktok逐步地布局,已经布局了泰国、马来西亚、新加坡等地,之后还要把三只羊分公司开到美国去。
早在2023年5月,辛巴就带领旗下主播前往泰国曼谷,在暹罗古城直播带货。近日辛选又曝出计划入驻TikTok渠道,并且已经提交了广告开户的申请。
此外,还有东方甄选开始招聘海外TikTok电商业务的岗位。遥望科技在东南亚和北美市场试水TikTok直播带货,整合当地直播基建、供应链、达人资源、物流服务等。
根据克劳锐指数研究院的数据,2023年,国内接近30%的MCN机构就已开始涉及出海,还有14.9%的机构正在筹备和观望。
面对如此大势,范冰冰的随势出海就显得顺理成章。
而且选择东南亚作为出海的首站,一方面因为东南亚在TikTok电商业务中占比显著。据Yipit Data发布的数据显示,2023年,TikTok全球电商GMV约为136亿美元,其中东南亚地区贡献值超90%。
另一方面,东南亚对于范冰冰来说,更是有着深厚的粉丝基础。
众所周知,范冰冰的成名之作是当年的顶流爆款剧集《还珠格格》,这也拉开了她演艺生涯一路向上的序幕。
其实,《还珠格格》不仅在国内爆火,更是风靡了整个东南亚。从那个时候起,“金锁”就成了东南亚人对范冰冰的深刻印象。
虽然在国内遭遇毁灭性的打击,但是国外消费者对此事并不敏感。凭借以往的人气,范冰冰也在缴税事件后有意地加强了在东南亚各地的社交活动,重心向外偏移。
2023年范冰冰在新加坡出席国际电影节官方晚宴,收获杰出演员奖;今年,范冰冰还拿到了“2024年马六甲旅游亲善大使”的头衔,相当于旅游代言人,高调出镜各种宣传活动。
天时地利人和之下,范冰冰和FB的出海显得顺理成章。之后的问题就变成,范冰冰能够复制在国内的电商辉煌吗?
03 套路是否能继续?
FB的成功是有套路的。
首先,应该承认,范冰冰的名人效应实实在在给FB做了很好的铺垫。
正是她不遗余力地推荐,才使得FB品牌能崭露头角。甚至时至今日,范冰冰对FB的影响仍然至关重要。“用了FB,就能像范冰冰一样美”,成了大多数消费者购买产品的潜在驱动力。
其次,除去个人IP的影响外。FB确实在营销策略上,抓住了一些时代的红利。最典型的就是在电商带货的风口上,趁势而起。范冰冰在小红书有超过1600万的粉丝,使得她成为天然的“带货女王”。
此外,FB还不断请头部主播带货,并依托明星IP+达人种草+店铺自播各种电商营销方式相结合。除了宸帆、搭搭随便夫妇、潘雨润等专业主播,贾乃亮、林依轮、戚薇等明星主播,以及田恬、乌啦啦等时尚、美食博主都曾经为FB摇旗呐喊。
所以,未来FB出海的策略,大概率仍然会是这个套路。依靠范冰冰的人气开头,后续各种带货达人跟上。
当范冰冰在TikTok上发布了视频之后,很快视频的播放量达到了53万,FB品牌账号粉丝也迅速增长至5.5万。评论区中,有人用英文留言询问怎么能找到品牌的产品,还有粉丝前来表示,“like Fan(喜欢范冰冰)”。
熟悉的开头之后,FB还能不能按照熟悉的剧本演绎下去呢?恐怕有几大问题亟待解决。
*的难题在于水土是否能服?国外的收入水平、基础设施、电商配套和文化程度等等因素,和国内大相径庭。即便是近如东南亚,不同的国家都各自有独特的宗教文化、消费偏好。这种多样性给想进入其中的外国企业带来了挑战。
到了海外,绝不是把国内的成熟流程简单复制一遍而已。即便是强如三只羊和辛巴这样的头部机构,也都会遇到文化冲突和供应链等方面的困惑。对于“新人”范冰冰来说,更是要有打硬仗的准备。
更何况这只是外部环境因素,FB的内部供应链上,也是问题多多。
显性问题是产品代工顽疾。2020年,给FB黑云杉水光充盈睡美人面膜和黑云杉水光充盈美男子面膜代工的工厂——中山中研化妆品有限公司在国家药监局的飞检中被通报。很多人对FB一直由三家不同工厂代工生产的做法有所质疑,并担心FB的研发能力。
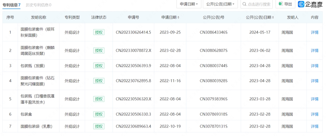
而实际上,FB虽然营销用语看起来高端且富有科技感,可一直也并没有显示出太多的科技证据。拿简单的专利技术一项来说,根据企查查显示,范美丽(海南)化妆品有限公司名下有7项专利信息,无一例外全部是外观设计专利。

此外,FB的产品结构还处于不均衡的状态。
虽然FB推出了护肤水、唇膏等多品类产品,可根据魔镜市场情报数据,2022年在淘系,FB面部护理产品贡献了94.23%的销售额,其中78%为面膜品类;在抖音,面部护理产品占据总销售额96.36%,其中90%为面膜品类。
面膜是一个技术门槛低,开发周期短且投入资金少的领域,仅靠这样的产品独撑大梁,很容易拉低护城河的宽度,易成也易败。
范爷要想继续打造“国际范”,看似前路繁花似锦,其中的暗礁险流不容小觑。

162208/07








